Passa al contenuto principale Salta alla ricerca Passa alla navigazione principale
Spedizione gratuita da 399 €
Partner di servizio per oltre 50 produttori
Oltre 40.000 pezzi di ricambio nella gamma
+10 anni di esperienza

Lotus M3 pietra laterale a destra posteriore A

pietra laterale /  pietra per camera di combustione / pietra per focolare / mattone laterale / mattone refrattario laterale / elemento refrattario laterale / pannello laterale / lastra laterale

 

Info sui prodotti "Lotus M3 pietra laterale a destra posteriore A"

originale pietra laterale a destra posteriore A per Lotus M3

  • Il produttore ha interrotto la produzione di questo articolo. Se abbiamo uno stock residuo, questo ricambio è disponibile presso di noi
  • Solo per i modelli M fino all'anno di fabbricazione 07/2006

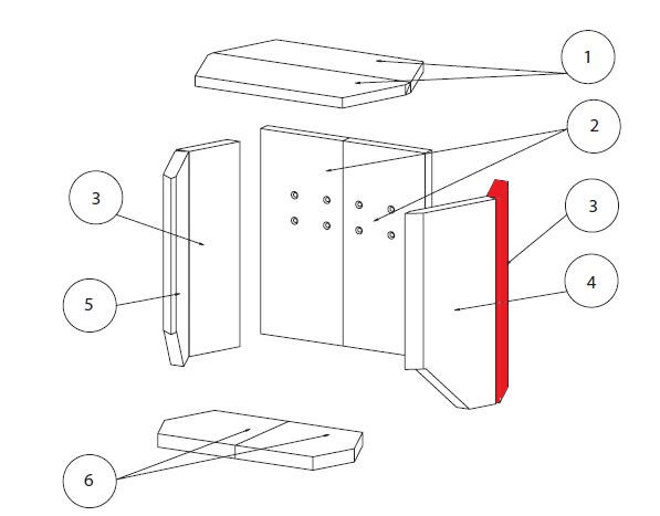
Lotus M3 pietra laterale a destra posteriore dati chiave:

  • elemento refrattario laterale, pannello laterale
  • dimensioni (L/L/A) 120 mm x 400 mm x 25 mm
  • materiale argilla refrattaria
  • posizione 3 nel disegno esploso
Eigenschaften "Lotus M3 pietra laterale a destra posteriore A"
Produttore: Lotus
materiale: argilla refrattaria
modello: M3
tipo di pezzo di ricambio: pietra laterale

Rappresentante dell'UE

Lotus Heating Systems A/S ©
Agertoften 6
5550 Langeskov
DK
info@lotusstoves.com

Prodotti simili

Lotus M3 deflettore di tiraggio anteriore A
originale deflettore di tiraggio anteriore A per stufa a legna Lotus M3 Solo per i modelli M fino all'anno di fabbricazione 07/2006 Lotus M3 deflettore di tiraggio anteriore dati chiave: piastra deflettore, deflettore fumi dimensioni (L/L/A) 160 mm x 20 mm x 430 mm materiale vermiculite posizione 1 nel disegno esploso
Numero di prodotto: 01026953

92,59 €*¹

Disponibile, tempi di consegna: 4-6 giorni

Lotus M3 guarnizione sportello set
guarnizione sportello set per stufa a legna Lotus M3 set da 7 Lotus M3 guarnizione sportello dati chiave: Set da 7 pezzi Cordone sigillante Diametro 14 mm Lunghezza 1,4 m Colla Tubo 17 ml Contenuto 2 pezzi Legante per guarnizioni 4 strisce
Numero di prodotto: 01027108

59,58 €*¹

Disponibile, tempi di consegna: 4-6 giorni

Esaurito
Lotus M3 rivestimento focolare A
originale rivestimento focolare A per stufa a legna Lotus M3 Il produttore ha interrotto la produzione di questo articolo. Se abbiamo uno stock residuo, questo ricambio è disponibile presso di noi Solo per i modelli M fino all'anno di fabbricazione 07/2006 set da 10 Lotus M3 rivestimento focolare dati chiave: 10 pezzi Rivestimento focolare, mattoni camera di combustione Materiale vermiculite Deflettore di tiraggio nella parte anteriore (320/430 x 160 x 20 mm) Deflettore di tiraggio posteriore (320/430 x 160 x 20 mm) Materiale chamotte Mattone parete posteriore perforato a sinistra (400 x 180 x 25 mm), mattone parete posteriore perforato a destra (400 x 180 x 25 mm) Pietra laterale posteriore sinistra (400 x 120 x 25 mm), pietra laterale posteriore destra (400 x 120 x 25 mm) Pietra laterale anteriore sinistra (303/399 x 200 x 27 mm), pietra laterale anteriore destra (303/399 x 200 x 27 mm) Piastrella per pavimento a sinistra (200 x 170/203 x 25 mm), piastrella per pavimento a destra (200 x 170/203 x 25 mm)
Numero di prodotto: 01027950

539,21 €*¹

non più disponibile, produzione interrotta