Passa al contenuto principale Salta alla ricerca Passa alla navigazione principale
Spedizione gratuita da 399 €
Partner di servizio per oltre 50 produttori
Oltre 40.000 pezzi di ricambio nella gamma
+10 anni di esperienza

Wodtke KK 80-1 pietra posteriore

pietra posteriore /  pietra per camera di combustione / pietra per focolare / mattone posteriore / mattone schienale / mattonella schienale focolare / refrattario posteriore / componente posteriore / parete posteriore /

 

Info sui prodotti "Wodtke KK 80-1 pietra posteriore"

originale pietra posteriore per stufa a legna Wodtke KK 80-1

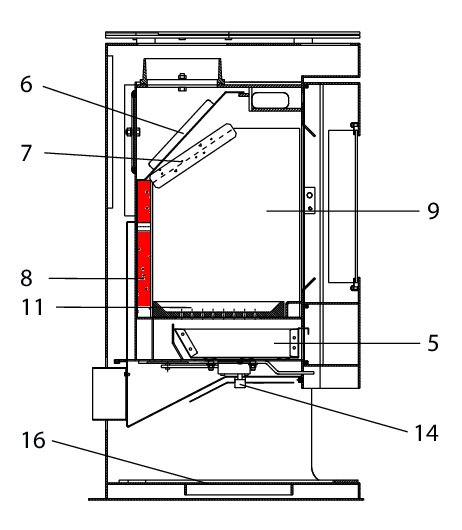
  • Attenzione: a causa di un cambiamento da parte del produttore, questa pietra della parete posteriore ha ora 9 - invece di 3 - fori.

Wodtke KK 80-1 pietra posteriore dati chiave:

  • pietra per camera di combustione, refrattario posteriore
  • pietra in vermiculite
  • dimensioni (L/L/A) 340 mm x 260 mm x 25 mm
  • materiale vermiculite
  • posizione 8 nel disegno esploso
Eigenschaften "Wodtke KK 80-1 pietra posteriore"
Produttore: Wodtke
genere: 80-1
materiale: vermiculite
modello: angolo
tipo di pezzo di ricambio: pietra posteriore

Rappresentante dell'UE

wodtke GmbH
Rittweg 55 - 57
D-72070 Tübingen-Hirschau
DE
info@wodtke.com

Prodotti simili

Wodtke KK 80-1 guarnizione sportello
guarnizione sportello per stufa a legna Wodtke KK 80-1 Raccomandiamo un adesivo per il montaggio, che può avere un effetto di sostegno attraverso un'applicazione selettiva. Raccomandiamo anche delle fascette di tenuta per evitare che le estremità del cavo di tenuta si sfilaccino. Offriamo anche manicotti di tenuta come highlight ottico. Wodtke KK 80-1 guarnizione sportello dati chiave: cordone isolante porta, treccia guarnizione per cordone lunghezza 3,00 m diametro 10 mm
Numero di prodotto: 01035712

49,15 €*¹

Disponibile, tempi di consegna: 4-6 giorni

Esaurito
Wodtke KK 80-1 griglia per cenere
originale griglia per cenere per stufa a legna Wodtke KK 80-1 Il produttore ha interrotto la produzione di questo articolo. Se abbiamo uno stock residuo, questo ricambio è disponibile presso di noi Wodtke KK 80-1 griglia per cenere dati chiave: griglia in ghisa, griglia per camera di combustione dimensioni (L/L/A) 190 mm x 85 mm x 5 mm materiale ghisa forma rettangolare posizione 11 nel disegno esploso
Numero di prodotto: 01037250

163,77 €*¹

non più disponibile, produzione interrotta

Esaurito
Wodtke KK 80-1 vetro
originale vetro per stufa a legna Wodtke KK 80-1 Il produttore ha interrotto la produzione di questo articolo. Se abbiamo uno stock residuo, questo ricambio è disponibile presso di noi Wodtke KK 80-1 vetro dati chiave: materiale vetro resistente al calore posizione 2 nel disegno esploso
Numero di prodotto: 01037930

379,16 €*¹

non più disponibile, produzione interrotta

Esaurito
Wodtke KK 80-1 deflettore di tiraggio in basso
originale deflettore di tiraggio in basso per stufa a legna Wodtke KK 80-1 Il produttore ha interrotto la produzione di questo articolo. Se abbiamo uno stock residuo, questo ricambio è disponibile presso di noi Wodtke KK 80-1 deflettore di tiraggio in basso dati chiave: piastra deflettore, deflettore fumi dimensioni (L/L/A) 195/185 mm x 320/290 mm x 30 mm materiale vermiculite posizione 7 nel disegno esploso
Numero di prodotto: 01037940

94,06 €*¹

non più disponibile, produzione interrotta

Wodtke KK 80-1 guarnizione per vetro
guarnizione per vetro per inserto per caminetto Wodtke KK 80-1 Wodtke KK 80-1 guarnizione per vetro dati chiave: cordone di tenuta, nastro sigillante per vetro guarnizione piatta dimensioni (L/A) 8 mm x 2 mm lunghezza 3,00 m autoadesivo
Numero di prodotto: 01039899

Contenuto: 3 metro (10,35 €*¹ / 1 metro)

31,06 €*¹

Disponibile, tempi di consegna: 4-6 giorni